JSML-UHZ型帶遠傳裝置磁翻板液位計的電信號遠傳是通過基本型和遠傳液位裝置相結合來實現的。液位遠傳裝置由UR型電阻傳感器和UB型R/I轉換模塊。變送器的傳感器以束的形式固定在磁翻板液位計主管的外側,使其處于液位記的同一個磁耦合系統中。磁浮子隨液面上下運動時,浮子中的磁場吸引了對應液體位置的簧管,使電阻鏈的電阻值發生變化。轉換模塊將變化后的電阻信號轉換成兩線制4—20 mA DC標準信號輸出。信號可方便地與電氣儀表、顯示儀表配合使用,也可與光柱指示、數顯調節報警儀表配合應用,從而達到顯示、控制、調節、報警的目的。

它是如何工作的:根據浮力原理和磁耦合效應,研制了JSML-UHZ型遠傳磁翻板液位計。當被測容器內的液位上升或下降時,液位計超前管中的浮子也隨之下降或上升,浮子中的磁鋼通過磁耦合傳遞給磁場指示器,帶動紅白翻轉柱翻轉180度。液位上升時,翻柱由白變紅,液位下降時,由紅變白,指示器的紅白邊界即為容器內介質液位的實際高度,從而實現液位的指示。
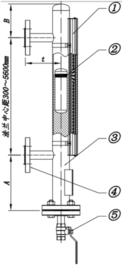
帶遠傳裝置的磁翻板液位計功能特點:。

1、適用于壓力容器的液位和邊界測量,可集現場指示、遠傳和控制報警于一體。2、適應癥新穎,讀數直觀、醒目??梢暯嵌瓤筛鶕褂谜叩姆奖愠潭榷淖?。3、測量范圍大,不受儲罐高度的限制。4、指示機構與被測介質完全隔離,因此密封可靠,使用安全。5、耐高溫,可采用*陶瓷柱。6、結構簡單,安裝方便,維護費用低。
技術參數:
測量范圍:0-150-6000mm(超過6000 mm可議訂),測量精度:±10mm
中密度:0.4-20g/cm3,中密度差:≥0.15克/厘米3。
工作壓力:-0.1兆帕
工作溫度:-160-450攝氏度
連接法蘭:法蘭直徑為DN20-DN150,法蘭標準采用化工部HG20592-97法蘭標準,其他法蘭標準請在訂貨時注明。
環境振動:頻率≤25HZ,振幅≤0.5 mm
法蘭材質:碳鋼,304,316L
跟隨速度:≤0.08米/秒
中等粘度:≤0.04帕
主要材質:1Cr18Ni9Ti,304,316L,PP,PTEE,304不銹鋼內襯不銹鋼管
導水管直徑:48毫米、57毫米、62毫米。
磁柱材質:≤80°C: ABS plastic, ≥ 80°C:陶瓷或金屬。
顯示器件材料:≤ 80°C:ABS塑料,≥80攝氏度:鋁合金。
安裝方式:垂直安裝。
排污閥:球閥、針閥。

適用對象:
JSML-UHZ型帶遠傳裝置磁翻板液位計能**用于石油、化工、油田、醫藥、食品、酒業等行業中各類貯液罐、貯槽、貯液池、反應罐、發酵罐內液體、油田、液化氣、液氫、強酸堿液、弱酸堿液、發電廠鍋爐汽包、高低加、除氧器、疏水箱、回水箱高低壓加熱器、凝結器、蒸發患有主其他壓力容器內與1鉻鎳鈦304+聚四氟乙烯(聚四氟乙烯),316L,聚氯乙烯,PP兼容液體介質的液位、液位和兩種不同介質的接口測量和顯示。有多種安裝形式供您選擇,以適應不同的場合、環境要求。
附加功能選擇:。
磁性限位開關:。
常開:合并高于報警點。
常閉:在報警點以上斷開連接。
開關容量:250VAC1A(電阻)250伏交流電0.3安
開關壽命:100000次。
液位變送器:。
輸出電流:4-20毫安德
分辨率:±1至10毫米
負載電阻:500Ω(24伏直流電源供電)
傳輸距離:>3000米
工作電源:16-30伏直流電
智能液位變送器:
輸出電流:4-20 ADC
分辨率:0.2毫米
負載電阻:500Ω(24伏直流電源供電)
傳輸距離:>3000米
工作電源:16-30伏直流電
夾克形式:。
1、蒸汽夾套和水循環夾套,是在液面計的先導管上加一層汽缸,供蒸汽、循環水或導熱油循環使用。
2、真空夾套,是在液位計的引出管外加一層真空缸,使被測介質與外界絕緣。
3、雙層夾套,一般是指蒸汽加熱夾套再做一層真空夾套。
4、電伴熱系統,是在液位計的引出管上纏繞著熱帶,從而加熱介質。

磁性限位開關:。
常開:合并高于報警點。
常閉:在報警點以上斷開連接。
開關容量:250VAC1A(電阻)250伏交流電0.3安
開關壽命:100000次。
液位變送器:。
輸出電流:4-20毫安德
分辨率:±1至10毫米
負載電阻:500Ω(24伏直流電源供電)
傳輸距離:>3000米
工作電源:16-30伏直流電
智能液位變送器:
輸出電流:4-20 ADC
分辨率:0.2毫米
負載電阻:500Ω(24伏直流電源供電)
傳輸距離:>3000米
工作電源:16-30伏直流電
夾克形式:。
1、蒸汽夾套和水循環夾套,是在液面計的先導管上加一層汽缸,供蒸汽、循環水或導熱油循環使用。
2、真空夾套,是在液位計的引出管外加一層真空缸,使被測介質與外界絕緣。
3、雙層夾套,一般是指蒸汽加熱夾套再做一層真空夾套。
4、電伴熱系統,是在液位計的引出管上纏繞著熱帶,從而加熱介質。
選擇表:。
型號。
代碼中。
解釋
HC-UHZ-51。
磁翻板液位計。
液位計類別。
0。
翻轉指令。
1。
電動遙控帶瓣。
液位計型號。
0。
基底型。
W。
絕緣型。
D。
插入式。
J。
耐腐蝕型。
S。
防霜型。
Z。
保溫、耐腐蝕。
Y。
插入耐腐蝕型。
報警控制。
0。
沒有警報。
1。
有上限的。
2。
有了下限。
3。
有上限和下限。
浮動材料。
P。
不銹鋼材質。
L。
防銹鋁。
T。
鈦合金。
S。
聚氯乙烯塑料。
F。
氟塑料包裝。
車身材質。
P。
不銹鋼材質。
L。
防銹鋁。
T。
鈦合金。
S。
聚氯乙烯塑料。
F。
氟塑料管。
PF。
內襯聚四氟乙烯。
PP。
內襯丙烯酸樹脂。
體育
內襯乙烯
連接法蘭。
表一。
中溫。
表二。
實際使用的壓力。
表三。
介質的比重。
來表示。
訂單的長度。
來表示。
訂購時請提供以下參數:
1. 型號規格。JSML-UHZ磁翻板液位計。
介質密度:如果你不知道密度,你可以告訴我們介質的名稱,混合液體應該知道是由哪些液體組成。
儀表測量范圍:也可以稱之為公稱長度,即兩法蘭的中心距離,或看已使用產品的刻度尺。
4、工作壓力:頂住壓力。
5、工作溫度:測量液體的*高低溫和*高高溫。
6、物料要求:液態物料,如果你不知道該用什么樣的材質,可以咨詢我們(一般裝的液體是什么材料我們就可以用什么材料)。
7、是否配套供應法蘭、螺栓、螺母、閥門、墊片等配件。
8、法蘭標準:法蘭的公稱通徑,*常用的法蘭是DN20或DN25。
9、特殊要求:訂貨前請詳細說明,如是否采取遠傳、絕緣護套等。