夾套型玻璃板液位計

一、儀表概述:
夾套型玻璃板液位計可用來直接指示密封容器中的液位高度,具有結構簡單,直觀可靠,經久耐用等優點,但容器中的介紹必須是與鋼、鋼紙及石墨壓環不起腐蝕作用的。液位計主要由上閥門,下閥門,表體,玻璃板,蓋板,排污閥等幾大部分組成。經改進,液面計進出口兩端可以不再加裝其它閥門,即可不停爐拆下中間指示器進行清洗,可在液面計下部增設排污閥,以便能及時沖洗和排污。
二、測量原理:
玻璃板液位計是基于連通器原理設計的,由玻璃板及液位計主體構成的液體通路是經接管用法蘭或錐管螺紋與被測容器連接構成連通器,透過玻璃板觀察到的液面與容器內的液面相同即液位高度。 液位計兩端的針型閥不僅起截止閥的作用,其內部的鋼球具有逆止閥的功能,當液位計發生意外破損泄漏時,鋼球可在介質壓力作用下自動關閉液體通道,防止液體大量外流起到安全保護作用。液位計改變零件的材料或增加一些附屬部件即可達到防腐、保溫、防霜、照明等功能。
三、適用場合:
夾套型玻璃板液位計用來直接指示承壓容器和敞口容器中的液位高度,**用于石油、化工、電力、冶金等領域,特別適用重油、渣油和純氨大貯罐的液位精確指示。
四、性能特點:
1、顯示清晰、無盲區、無間斷、連續指示;
2、不滲漏,不堵塞;
3、維護方便。
五、技術指標:
1、測量范圍: 300、500、800、1100、1400、1700……mm ;
2、工作壓力: 6.3MPa;
3、工作溫度: ≤200℃;
4、閥門自動封閉壓力差:0.2MPa ;
5、蒸汽夾套接頭:G1/2″外螺紋;
6、過程連接: ZW-UWB型連接螺紋:外螺紋G3/4″或M27×1.5;
7、連接法蘭:HG20592~20635-97DN20~DIN)請用戶任訂貨時注明;
8、接液材質:耐熱碳素鋼;不銹鋼。
六、液位計分類及使用范圍如下:
1、伴熱型玻璃板液位計:主要用于被測介質需要保溫的場合;
2、防霜型玻璃板液位計:主要用于被測介質操作溫度為-196~0℃,玻璃易結霜的場合;
3、無盲區型玻璃板液位計:主要用于需要連續觀測,可視范圍內不允許有盲區的場合;
4、雙色型玻璃板液位計:主要用于介質為無色透明液體,不易觀測液位的場合;
5、防紫外線型玻璃板液位計:主要用于被測介質怕紫外線照光的場合;
6、寬液室型玻璃板液位計:主要用于被測介質黏度比較大或者是要求儀表的容積比較大的場合;
7、照明型玻璃板液位計:主要用于夜間需要觀測的場合。
七、玻璃板液位計與玻璃管液位計的區別:
液位計是一種常用的流量測量儀器,在多個行業中都有一定的應用。液位計的種類是非常多的,其中玻璃管液位計和玻璃板液位計都是常用的類型,大家對于兩者之間的區別都了解過嗎?今天小編就來為大家具體介紹一下玻璃管液位計與玻璃板液位計的區別吧,希望可以幫助到大家。
玻璃管液位計:
玻璃管液位計根據使用要求可有各種形式,要求不高的可以因陋就簡自制,精密容器的液位可用較平直光滑和粗的玻璃管(使毛細現象減小)加上較精密的游標刻度尺來讀數。
在與容器連通的玻璃管中安有浮動磁鋼(又稱浮子)1,在玻璃管外面上下端各裝以干簧繼電器2,如這樣,當浮子接近千簧繼電器時,繼電器產生開關動作,就可以對液位的上下限進行控制或報警。
玻璃管液位計適用于較低壓力的、敞口或密封容器液位的直接指示。
玻璃板液位計:
它的結構為在厚實的鋼化玻璃板1上開以細槽,下端用金屬管2與容器被測液體相連,上端用金屬管3與容器液面上空問相連,與容器相連處裝有閥4,以便操作。
玻璃板液位計能耐較高的壓力(可達40公斤力/平方厘米),能測多種介質的液位(如水、弱堿、氨液、各種油品、丙銅、苯、異丙醉等),如果要測從較大量程的液位,如3-4米時,可以把好幾段玻璃板連接起米,組成既有較大量程,又耐較高壓力的玻璃板液位計。
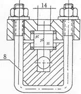
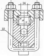
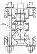
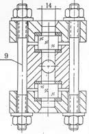
八、外型尺寸圖:
1.針型閥 2.本體 3.壓蓋 4.襯墊 5. 玻璃板 6.螺母 7.墊片 8.U型螺栓 9.螺柱 10.加熱夾套
|
|
|
|
|
|
九、液位計的安裝、使用與維護:
1、為了保證自動密超過計劃作用,容器內的介質壓力不得小于0.2MPa,在打開上下閥時,閥桿退出轉數不少于4轉(使鋼球封門時,不致于碰到閥桿的**)。
2、使用中的儀表應定期檢查。清洗玻璃板內外壁污垢,使液位顯示清晰。
3、檢修裝配玻璃板在旋緊螺栓時,要密切注意玻璃板受力不均而破碎。因此,螺栓須嚴格按圖示1、2、3┈┈┈10、11、12順序交叉地分多次夾緊玻璃板。
十、使用注意事項:
對于玻璃板液位計的保養,有這么幾個重點是需要注意的。
1、常操作使用的時候需留意液位計的外表是否有污漬或漏液,如有污漬或殘留液體沒有及時清理的話,容易對液位計本體產生腐蝕,也會影響到液位測量數據的讀取。
2、介質溫度比較高時,保養的時候需要注意,在每次保養結束的時候切記不要閥門全開,要慢慢的讓介質流入測量管,防止測量管因溫差過大而導致破裂。
3、當容器內存在壓力的時候,切記不要超壓使用,一定要在規定范圍內運行使用。
4、在對測量管進行清洗的時候需注意使用適當的清潔劑,用長桿毛刷上下清洗,去除管內污垢。
5、定期打開排污閥對玻璃板液位計的測量管內部積留的污漬進行排放。
十一、選型一覽表:
|
-UWB |
玻璃板液位計 |
|||||||
|
|
1 |
透光式,一般用于無色透明的液體,光線較好的場合 |
基本類型 |
|||||
|
2 |
透光式帶蒸汽夾套,用于粘稠、易凍的液體介質 |
|||||||
|
3 |
反射式,一秀般用于稍有色澤的液體,且光線較好的場合 |
|||||||
|
4 |
反射式帶蒸汽夾套,用于粘稠、易凍的液體介質 |
|||||||
|
5 |
防霜式,用于低溫場合 |
|||||||
|
6 |
照明式,用于光線較差的場合 |
|||||||
|
|
G |
改進型,對ZW-UWB為法蘭連接 |
安裝形式 |
|||||
|
|
A |
碳鋼 |
主體材質 |
|||||
|
B |
1Cr18Ni9Ti或304SS |
|||||||
|
|
|
C |
316SS或316L |
|||||
|
|
|
|
1 |
300mm |
4 |
1100mm |
測量范圍 |
|
|
|
|
|
2 |
500mm |
5 |
1400mm |
||
|
|
|
|
3 |
800mm |
6 |
1700mm |
||
十二、訂貨時請提供下列參數:
1、型號規格;
2、被測介質名稱:介質密度:如果不知道密度,可以告訴我們介質的名稱,混合液體要知道由哪幾種液體組成;
3、儀表測量范圍:也可稱為公稱長度,也就是兩個法蘭的中心距離;
4、工作壓力:zui高承受壓力;
5、工作溫度:測量液體的zui低、zui高溫度;
6、材質要求:接液材質,如不知道用哪種材質,可以向我們咨詢(一般裝液體的是什么材質我們就可以用什么材質);
7、是否配套供應法蘭、螺栓、螺母、閥門、密封墊圈等配件;
8、法蘭標準:法蘭的公稱通徑,使用zui多的法蘭是DN20或DN25;
9、特殊要求:請在訂貨前詳細注明,如是否要帶遠傳、保溫夾套等等。








