鍋爐水位計選型
發布時間:2022-03-08 23:45:55
水位計又稱液位計。它用于確定液位。液位計有很多種。這取決于你問的是哪一個我知道水箱中使用的液位計包括浮球、超聲波等等。我知道原則是什么雙色水位計。用于就地顯示汽包水位。它是當地使用***的水位計。它是一個垂直的玻璃管,從上到下與汽包的蒸汽空間和水空間相連。
采用U形管連接原理顯示水位。利用材料的光學特性,使水蒸氣的兩部分分別呈現綠色和紅色,以供觀察。雙色水位計使用可靠,顯示直觀。它可以通過攝像頭連接到中央控制室。是理想的鍋爐水位計。
但是,應注意定期沖洗,一些制造商的燈泡使用壽命短,需要經常更換磁性翻板液位計。它也是一根垂直的管子。管內有一個磁性浮球,管兩側有許多小磁性體。當水位變化時,它驅動浮球上下移動。由于磁極的作用,它驅動磁性體翻轉,并在磁性體兩側刷不同的顏色以顯示水位。常見的有白紅、綠-紅等。但嚴格來說,磁翻板水位計不能直接顯示汽包的水位,因此不常用。
可用于低壓低溫鍋爐,如熱水鍋爐。它也屬于本地顯示(但帶有遠程傳輸)。磁翻板液位計的使用更可靠,顯示更直觀。然而,當使用綠色和紅色磁性材料時,例如用于工廠照明的普通白熾燈,且光線較暗時,觀察不夠清晰。此外,一些制造商在使用其產品一段時間后,浮球會卡住。因此,要注意定期清潔
電接點液位計。用于遠程傳輸。多個電極在垂直方向上按順序排列。水位的上升和下降將使電氣級打開或關閉,以顯示水位。電接點液位計指示準確,尤其是鍋爐啟停及負荷波動時,應以雙色電接點顯示為準。然而,應該注意的是,在沸騰過程中,鍋爐應該被隔離,否則它會被損壞。雙室平衡容器。單人房也有用,效果不好。雙室平衡容器在爐膛啟動和負荷波動時顯示誤差大
一般情況下,汽包應配備多個水位計作為參考。常見配置為2個雙色(一個在長度方向的一端)+2個電觸點(一個在長度方向的一端)+2個雙室(一個在長度方向的一端)。
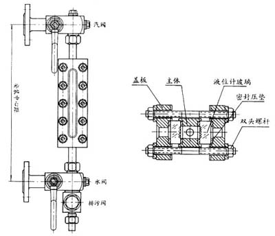
X49H系列鍋爐平板水位計(又稱液面指示器),它適用于工業蒸汽鍋爐和蒸汽機車鍋爐及貯集器上作指示液、水位用。
主要技術參數:
|
型號 |
X49H DN25(mm) |
|
公稱壓力 |
1.6MPa |
2.5 MPa |
4.0 MPa |
|
試驗壓力 |
2.45 MPa |
3.8 MPa |
6.0 MPa |
|
保力時間 |
3Min |
3Min |
3Min |
|
介質溫度 |
t≤205℃ |
t≤225℃ |
t≤250℃ |
|
安裝中心距 |
300、350、440(mm) |
|
視屏高度 |
165~195(mm) |
|
觀測距離 |
15m |
|
介質溫度 |
t≤250℃ |
常見故障及處理方法:
|
常見故障部位 |
故障原因 |
處理方法 |
|
閥門連接部位泄漏 |
閥門同主體密封連接不良
旋塞石墨襯套被磨損 |
透度旋緊螺帽或加密封石墨圈
旋緊螺母,無效應更換新襯套 |
主體密封面泄漏
|
密封壓墊斷裂或密封面有雜物
堅固件未擰緊 |
清除雜物,更換新壓墊
適度調緊 |
顯示色標
|
透光不清
|
因掛污,馬上排污幾次或刷洗要
求關閉汽水閥門刷洗幾次 |
按裝棱鏡(或玻璃板)時受壓要均勻,螺紋擰緊要求交叉型式分幾次旋緊(見下圖),達到扭力20-39.4Nm為止。

使用與維護:
1、
水位計使用時,應先預熱20-30分鐘,待玻璃板有益定溫度后,方能打開兩端閥門進水或其它介質。
2、在使用過程中要求經常排污,避免污蝕阻塞通道,出現假水位現象。
3、更換玻璃板時,應清除密封面上的雜物及鐵屑。