側裝式磁翻板液位計假液位原因
發布時間:2022-08-28 23:48:00
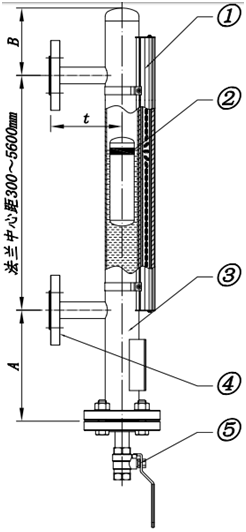
側裝式磁翻板液位計。側裝式遠傳磁翻板液位計由閥體、翻板箱、浮子、法蘭蓋等組成。用于各種液體容器的液位測量。
側裝式磁翻板液位計的主要技術指標。
范圍(mm):300~19000
中等密度(g/cm3):0.5~2。
Medium viscosity: ≤ 0.02Pa.S.
工作溫度:-40 ~ 350.
壓力等級(MPa):≤32
Measurement accuracy (mm): ≤ ± 10.
安裝:側裝、頂裝、底裝。
防護等級:IP65
防爆等級:IbI ICT 4(本質安全型),dIIBT4(防爆型)。
傳輸方式:4~20mA或開關量。
接口法蘭:PN4.0DN25HG20593(側裝)。PN1.0DN100HG20593(頂裝、底裝),可根據用戶需要定制。
側裝磁翻板液位計假液位怎么辦。麥倫小編表示,每種類型的儀器在使用過程中都會遇到這樣或那樣的問題,磁翻板料位計也不例外,比如,有客戶在購買側裝式磁翻板式料位儀時,在使用過程中反應偶爾會假液位,其實這種情況一點也不復雜,出現假液位時怎么辦。

事實上,側裝式磁翻板液位計出現假液位的原因有以下幾種:
A首先要確定液相、氣相是否開啟。絕大多數情況都可能是這樣造成的,所以特別需要注意的是,很多看似困難的情況,其實都是由這樣簡單的原因造成的。用磁鐵,沿著它的表面掃整個過程,如果是磁翻板和面板的問題就可以輕松解決了。如果是安全液體,先讓液相排出,再進行第二次操作。

B如果氣相的蒸汽壓大,關閉氣相,并將管道中的液體加壓到儲罐,執行2、操作。外部干擾信號過大,導致電路得到的是假信號,而不是實際測量的信號。
C波導內部的電平導線故障,如松動、密封性不好水生銹等,引起信號失真。波導導線安裝不正確,信號傳輸失真。
D 信號處理電路出現故障,這是用遠傳磁翻板液位計會出現的情況,現場的實際觀測結果與遠傳輸出的信號不一致,很多都是這個原因造成的。
江蘇麥倫儀表有限公司是生產
磁翻板液位計、側裝磁翻板液位計、音叉液位開關、高亮磁敏液位計、浮子液位計及儀表附件的**制造型公司,客戶群體為同類儀表生產企業以及航天、石油、化工、電力、冶金、制藥等行業,在市場經濟日益競爭的今天,我們能夠成就同行業的企業,他們不用再把精力放到生產上,因為我們已經做到集中采購、流水化生產、及時發貨,愿為各界用戶提供滿意產品和服務。